calage de la distribution XL600LM

Pour conserver en bon état nos machines, il faut passer par la case "mécanique". C'est ici. Essuyez-vous les doigts avant !

Modérateurs : rvcoincoin, TiTi, xl600

leyetidu65

calage de la distribution XL600LM

Message par leyetidu65 » jeu. août 21, 2008 2:28 pm

Bonjour à vous tous,
Ma question : quelle est l'orientation de l'arbre à cames lorsqu'on effectue le calage de la distribution sur un XL600LM : vilbrequin sur son repère "T" et pignon de l'arbre à cames avec ses deux traits parallèles à la culasse ? ( de quel PMH s'agit-il ? )
Merci pour vos réponses.
Cordialement
Daniel :D
xl600
Affuteur de hache *
Messages : 6578
Enregistré le : sam. sept. 24, 2005 6:29 pm
Moto(s) : DR350SE-96, XL600LM-87, XRV650-88
Département : 13-Bouches-du-Rhône
Localisation : Marseille (13)
Contact :

Re: calage de la distribution XL600LM

Message par xl600 » jeu. août 21, 2008 2:43 pm

leyetidu65 a écrit :Bonjour à vous tous,
Ma question : quelle est l'orientation de l'arbre à cames lorsqu'on effectue le calage de la distribution sur un XL600LM : vilbrequin sur son repère "T" et pignon de l'arbre à cames avec ses deux traits parallèles à la culasse ? ( de quel PMH s'agit-il ? )
Merci pour vos réponses.
Cordialement
Daniel :D
Il s'agit du ... Point Mort Haut, il n'y en a qu'un ... Piston en haut. Tu peux le vérifier en mettant une tige par le puits de bougie par ex.

Sinon, c'est ce que tu décrit.

Pour ton problème de démarrage, je suppose que tu as fait les tests classiques :
-bougie (étincelle, coupe circuit, point mort et embrayage ?)
-essence (état de la crépine dans le robinet, ...), essai en ouvrant la vis de purge de la cuve gauche.
-dé-compresseur qui est ouvert (soupape ech. droite). Tu déconnectes les deux câbles sur le levier de déco à droite du couvre culasse, comme ça pas de doute. D'ailleurs, tu l'a bien remonté (je ne sais pas si on peut le tourner d'un demi tour par mégarde)?
-jeu aux soupapes.
-filtre à air.
...

Stef
--
En DR, je prends l'air
En XL, j'ai des ailes (moteur noir, le plus beau),
En XRV, j'équilibre en V (enfin, j'essaye)
leyetidu65

Re: calage de la distribution XL600LM

Message par leyetidu65 » jeu. août 21, 2008 6:21 pm

Bonjour Stef , et merci pour ta réponse.
Il est possible de faire tourner l'arbre a cames de 180° lors du calage : la preuve, je l' ai fait :!: . D'où mon doute actuel : lors du calage, PMH ( c'est à dire soupapes fermées, phase de compression avec allumage sur la bougie ), l'arbre à cames doit avoir ses cames orientées vers le bas ????
Tu comfirmes ? :?:
Merci à toi.
Daniel
xl600
Affuteur de hache *
Messages : 6578
Enregistré le : sam. sept. 24, 2005 6:29 pm
Moto(s) : DR350SE-96, XL600LM-87, XRV650-88
Département : 13-Bouches-du-Rhône
Localisation : Marseille (13)
Contact :

Re: calage de la distribution XL600LM

Message par xl600 » jeu. août 21, 2008 6:36 pm

leyetidu65 a écrit :Bonjour Stef , et merci pour ta réponse.
Il est possible de faire tourner l'arbre a cames de 180° lors du calage : la preuve, je l' ai fait :!: . D'où mon doute actuel : lors du calage, PMH ( c'est à dire soupapes fermées, phase de compression avec allumage sur la bougie ), l'arbre à cames doit avoir ses cames orientées vers le bas ????
Tu comfirmes ? :?:
Merci à toi.
Daniel
Oui et non ;-)

-PMH : le piston est au point mort haut, c'est à dire en haut du cylindre (répére T sur le vilo).
-Tu as bien sur monté le pignon de vilo, le capteur d'allumage, installé la chaine sur le pignon de vilo, ...
-Tu positionnes la couronne de l'AC sur la chaine pour que les repères soient alignés sur la culasse et tu installes l'AC cames en bas.
-Si tu ne peut pas aligner les repères, tu fait sauter la chaine d'une dent en avant ou en arrière.
- et tu met les deux vis qui solidarisent le pignon et l'AC (sinon, c'est sur ça tourne ;-). et tu peut faire plus de 180° si tu veux.

Une fois fait, tu fait faire au vilo quelques tours, histoire que tout se mette en place, et tu vérifies : vilo position T, cames en bas à un tour de vilo prêt (test par le puit de bougie) !

Tu remontes enfin le couvercle de culasse et tu retestes (sans oublier le tendeur).

Image

Image
Sur un Dom, mais kifkif.

Et c'est bon (piston en haut, rep T aligné, rep. couronne alignés, cames en bas).

Stef
--
En DR, je prends l'air
En XL, j'ai des ailes (moteur noir, le plus beau),
En XRV, j'équilibre en V (enfin, j'essaye)
leyetidu65

Re: calage de la distribution XL600LM

Message par leyetidu65 » jeu. août 21, 2008 8:23 pm

Merci Stef pour tes conseils. J'éspère enfin arriver à faire tourner ce bon vieux moteur de motoculteur :mrgreen: :mrgreen:
Je te tiens au courant.
Merci .
Daniel.
xl600
Affuteur de hache *
Messages : 6578
Enregistré le : sam. sept. 24, 2005 6:29 pm
Moto(s) : DR350SE-96, XL600LM-87, XRV650-88
Département : 13-Bouches-du-Rhône
Localisation : Marseille (13)
Contact :

Re: calage de la distribution XL600LM

Message par xl600 » jeu. août 21, 2008 8:38 pm

leyetidu65 a écrit :Merci Stef pour tes conseils. J'éspère enfin arriver à faire tourner ce bon vieux moteur de motoculteur :mrgreen: :mrgreen:
Je te tiens au courant.
Merci .
Daniel.
Avant de démarrer le moteur, fait au moins deux tours à vide en tournant le vilo avec une clef pour voir si les soupapes ne vont pas faire une bise au piston.

Stef
--
En DR, je prends l'air
En XL, j'ai des ailes (moteur noir, le plus beau),
En XRV, j'équilibre en V (enfin, j'essaye)
leyetidu65

Re: calage de la distribution XL600LM

Message par leyetidu65 » sam. sept. 20, 2008 11:13 pm

bonsoir à tous.
Je reviens à la charge avec ce calage de distribution !!!! Il m'a fallu du temps pour comprendre qu'il importait peu de savoir si on était au point mort ( fin de compression, étincelle à la bougie ) ou lors du basculement échappement / admission puisqu'il y a aussi une étincelle lors de cette dernière phase :arrow: deux étincelles par cycle sur les monos :P Merci Stef :P
Depuis, doux bruit de motoculteur ......... jusqu' à la nouvelle panne :evil: :evil: :evil: :evil: elle m'en fait vraiment voir cette machine.........
je préfère l'aborder sous un nouveau sujet : panne électrique.... à suivre :lol:
xl600
Affuteur de hache *
Messages : 6578
Enregistré le : sam. sept. 24, 2005 6:29 pm
Moto(s) : DR350SE-96, XL600LM-87, XRV650-88
Département : 13-Bouches-du-Rhône
Localisation : Marseille (13)
Contact :

Re: calage de la distribution XL600LM

Message par xl600 » lun. sept. 22, 2008 2:52 pm

leyetidu65 a écrit :une étincelle lors de cette dernière phase :arrow: deux étincelles par cycle sur les monos :P Merci Stef :P
Depuis, doux bruit de motoculteur
Il y a souvent une étincelle "perdue" sur les quatre temps.

Stef
--
En DR, je prends l'air
En XL, j'ai des ailes (moteur noir, le plus beau),
En XRV, j'équilibre en V (enfin, j'essaye)
Avatar du membre
Chatothierry
La Pipelette *
Messages : 7235
Enregistré le : lun. mai 14, 2007 6:01 pm
Moto(s) : K1100LT-92 , XT660Z-2010, DR350SE-99
Département : 13-Bouches-du-Rhône
Localisation : Chateaurenard (13160)

Re: calage de la distribution XL600LM

Message par Chatothierry » lun. sept. 22, 2008 6:56 pm

xl600 a écrit : Il y a souvent une étincelle "perdue" sur les quatre temps.Stef
Bah, il vaut mieux que ce soit une étincelle, qui se perde dans le cylindre, plutôt qu'une clef de 12 ! :lol:
Une moto, des BD... et la vie est belle Image
damoto

Re: calage de la distribution XL600LM

Message par damoto » jeu. nov. 13, 2008 3:40 pm

Hello,
Me voici encore à chercher des vérifs à faire avant de tout démonter.
J'ai donc essayé de dévisser le cache de la fixation du tendeur de distri. (le truc en haut à gauche) pour voir si ça bougeait pas trop derrière (rien à voir avec le nx d'ailleurs :oops: ), seulement, pas moyen de le dévisser :evil: , et comme je ne veux pas le massacrer !
Avez vous un truc, y a-t 'il un outil spécial, ou tout simplement faut-il insister ?
Qu'en est-il de la goupille mecanindus qui remplacerait avantageusement l'axe du tendeur, est-ce bien à cet endroit ?(j'ai vu ça dans d'autres sujet)
Sinon elle fume pas mal à froid le démontage sera de toute façon utile pour le ht moteur aussi pour vérifier la segmentation le cylindre et la culasse.
J'espère qu'il n'y aura pas trop de mal et qu'il n'y aura pas trop de pièces à changer, mais je me dis qu'au moins je sais sur quoi je repartirai :mrgreen:
Merci de vos conseils, à plus
xl600 a écrit : Image
xl600
Affuteur de hache *
Messages : 6578
Enregistré le : sam. sept. 24, 2005 6:29 pm
Moto(s) : DR350SE-96, XL600LM-87, XRV650-88
Département : 13-Bouches-du-Rhône
Localisation : Marseille (13)
Contact :

Re: calage de la distribution XL600LM

Message par xl600 » jeu. nov. 13, 2008 3:52 pm

damoto a écrit :Hello,
Me voici encore à chercher des vérifs à faire avant de tout démonter.
J'ai donc essayé de dévisser le cache de la fixation du tendeur de distri. (le truc en haut à gauche) pour voir si ça bougeait pas trop derrière (rien à voir avec le nx d'ailleurs :oops: ), seulement, pas moyen de le dévisser :evil: , et comme je ne veux pas le massacrer !
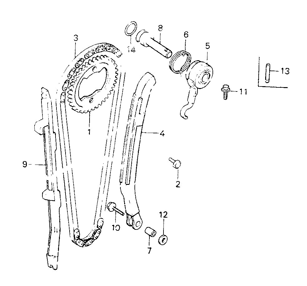
Normal :mrgreen: Il faut enlever le couvre culasse. L'axe du tendeur est maintenu en place par une vis CHC située à l'intérieur
distrib.jpg
Avez vous un truc, y a-t 'il un outil spécial, ou tout simplement faut-il insister ?
Qu'en est-il de la goupille mecanindus qui remplacerait avantageusement l'axe du tendeur, est-ce bien à cet endroit ?(j'ai vu ça dans d'autres sujet)
Ouaip, bof, j'ai aussi entendu ce truc, mais personne n'a pu me le justifier. La vis ne risque pas de se barrer, il y a une rondelle frein et je rajoute une goute de frein filet.
Sinon elle fume pas mal à froid le démontage sera de toute façon utile pour le ht moteur aussi pour vérifier la segmentation le cylindre et la culasse.
J'espère qu'il n'y aura pas trop de mal et qu'il n'y aura pas trop de pièces à changer, mais je me dis qu'au moins je sais sur quoi je repartirai :mrgreen:
Merci de vos conseils, à plus
Le bruit vient peut être du claquement du cylindre dans le piston. Tu risque d'être bon pour un réalésage/piston/segments neufs :?

Stef
--
En DR, je prends l'air
En XL, j'ai des ailes (moteur noir, le plus beau),
En XRV, j'équilibre en V (enfin, j'essaye)
Avatar du membre
rvcoincoin
Site Admin *
Messages : 4033
Enregistré le : sam. sept. 24, 2005 6:28 pm
Moto(s) : DTR 125-93 , DTR 200-89 , Transalp 600-97
Département : 13-Bouches-du-Rhône
Localisation : Pélissanne (13)

Re: calage de la distribution XL600LM

Message par rvcoincoin » jeu. nov. 13, 2008 4:21 pm

xl600 a écrit :...
Le bruit vient peut être du claquement du cylindre dans le piston. Tu risque d'être bon pour un réalésage/piston/segments neufs :?

Stef
Ah ça il est fort le Stefouille !!!!
Moi j'ai jamais entendu un cylindre claquer dans un piston !!!
Et vous les gars vous connaissez des cylindres claqueurs ... :mrgreen:
Stef , du repos vite !!!!
RV ;)
xl600
Affuteur de hache *
Messages : 6578
Enregistré le : sam. sept. 24, 2005 6:29 pm
Moto(s) : DR350SE-96, XL600LM-87, XRV650-88
Département : 13-Bouches-du-Rhône
Localisation : Marseille (13)
Contact :

Re: calage de la distribution XL600LM

Message par xl600 » jeu. nov. 13, 2008 5:00 pm

rvcoincoin a écrit : Ah ça il est fort le Stefouille !!!!
Moi j'ai jamais entendu un cylindre claquer dans un piston !!!
Et vous les gars vous connaissez des cylindres claqueurs ... :mrgreen:
Stef , du repos vite !!!!
Oops, c'est vraiment usé alors :mrgreen:

Stef
--
En DR, je prends l'air
En XL, j'ai des ailes (moteur noir, le plus beau),
En XRV, j'équilibre en V (enfin, j'essaye)
damoto

Re: calage de la distribution XL600LM

Message par damoto » jeu. nov. 13, 2008 9:15 pm

A moins que ça vienne de l'axe de piston, de toute façon je crois qu'il faudra que je passe aussi par la case réfection du haut moteur.
Faut vite que je m'achète la RT que je puisse m'attaquer au démontage et savoir de quoi il en retourne.
De toute façon ça vaut le coup de la remettre en état et d'ailleurs je l'ai achetée comme ça , pour ça :lol: . C'est juste que ça me démange de pouvoir rouler avec tranquille.
Dans quelle genre de boite fait-on mesurer les cote ? Concessionnaire ?
Au fait, je pouvais toujours essayer de l'enlever le cache, heureusement que je ne suis pas trop bourrin et que je n'ai pas envie de l'abimer :?
xl600
Affuteur de hache *
Messages : 6578
Enregistré le : sam. sept. 24, 2005 6:29 pm
Moto(s) : DR350SE-96, XL600LM-87, XRV650-88
Département : 13-Bouches-du-Rhône
Localisation : Marseille (13)
Contact :

Re: calage de la distribution XL600LM

Message par xl600 » ven. nov. 14, 2008 7:13 am

damoto a écrit : Dans quelle genre de boite fait-on mesurer les cote ? Concessionnaire ?
Tu vas chez le réaléseur qui a tout ce qui faut pour mesurer. Tu vois avec lui quelle taille de piston prendre. Un fois le piston reçu, que tu commande avec segments et axe, tu amènes tout chez le réaléseur qui va rectifier le cylindre en fonction de la côte mesurée du piston neuf. Profites en pour faire rectifier soupapes et sièges de soupapes.

Stef
--
En DR, je prends l'air
En XL, j'ai des ailes (moteur noir, le plus beau),
En XRV, j'équilibre en V (enfin, j'essaye)
Répondre